当前位置:首页 > 专利资讯 > 正文

【专利】一种带限流机构的天然气阀门(专利号:201921139161.3)

来源:互联网 时间:2020-4-27 11:12 点击:156
专利号:201921139161.3
专利状态:有权
专利类型:[实用新型]
专利申请人:王鹏
专利分类号:张雨
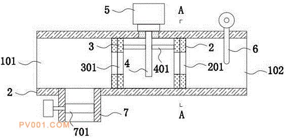
专利摘要:公开(公告)日:2020-04-21摘要:本实用新型涉及天然气阀门技术领域,具体的说是一种带限流机构的天然气阀门,包括供气管道,所述供气管道内部中间焊接有外圆柱形挡圈,所述供气管道由外圆柱形挡圈左右划分为进气通道和出气通道,所述外圆柱形挡圈外壁左右两侧成对开设有外流孔,所述供气管道内部中间设有内圆柱形挡圈,所述内圆柱形挡圈外壁左右两侧还成对开设有内流孔,将进气通道与外置的钢瓶进行连通,将出气通道与需要充气的外置瓶进行连通,然后借助气体流量计来检测外圆柱形挡圈右外侧充气过程中的气流量变化,当气流量变化缩小时,则意味着外置瓶即将充满,此时借助外置的控制器控制马达进行运作。