当前位置:首页 > 专利资讯 > 正文

【专利】一种直动式电磁温控阀(专利号:201921022004.4)

来源:互联网 时间:2020-4-27 10:28 点击:90
专利号:201921022004.4
专利状态:有权
专利类型:[实用新型]
专利申请人:四川川润液压润滑设备有限公司
专利分类号:F16K3/02(20060101)
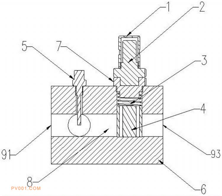
专利摘要:公开(公告)日:2020-04-21摘要:本实用新型公开了一种直动式电磁温控阀,包括阀体,所述阀体内部设置有一个空腔,所述阀体上设置有三个液流口与所述空腔连通,三个所述液流口均不处于同一平面上,其中一个所述液流口对应设置有置于所述阀体内的衔铁,所述衔铁与压簧连接,所述压簧与过渡衔铁连接,所述压簧处于压缩状态,所述过渡衔铁与铁芯及线圈连接,所述过渡衔铁与阀体连接;所述阀体上还设置有热电阻,所述热电阻的电阻体置于所述空腔内。该电磁温控阀能够缓慢调节润滑油的流向同时也能调节两路油路的流量,使用寿命高,维护时只需要更换电磁线圈部分,维护成本低,同时可以做到不停机维护。