当前位置:首页 > 专利资讯 > 正文

【专利】一种单向节流阀(专利号:201921209212.5)

来源:互联网 时间:2020-4-27 09:17 点击:139
专利号:201921209212.5
专利状态:有权
专利类型:[实用新型]
专利申请人:无锡佳与阳精密机械有限公司
专利分类号:F16K3/24(20060101)
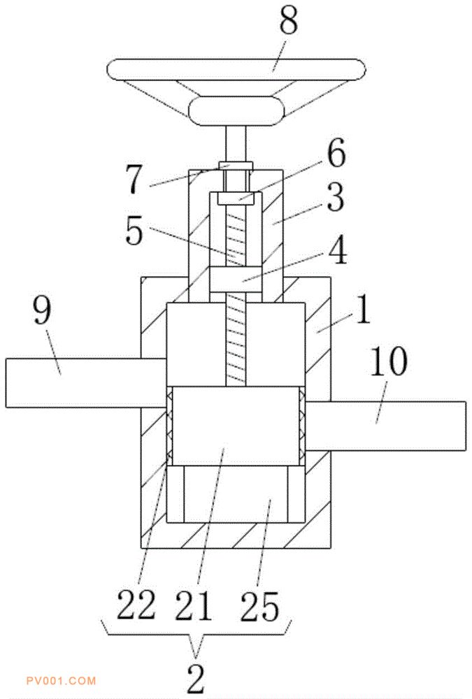
专利摘要:公开(公告)日:2020-04-21摘要:本实用新型公开了一种单向节流阀,包括阀体,所述阀体的内腔设置有节流装置,所述节流装置包括阀板,所述阀板的两侧均固定连接有密封垫,所述阀板的底部开设有凹槽,所述阀板底部的两侧均开设有滑槽,所述滑槽的内腔滑动连接有壳体,所述壳体内腔的底部固定连接有弹簧。本实用新型通过设置阀体、节流装置、外壳、螺纹管、螺纹杆、密封圈、轴承座、调节手轮、入液口和出液口的相互配合,达到了可以稳定的控制气液流量的优点,解决了现有的单向节流阀无法稳定的控制气液流量的问题,当人们在使用单向节流阀时,可以根据实际使用情况来调节气液的流速,可以保证气液流动的稳定性,方便了人们使用,提高了单向节流阀的实用性。