当前位置:首页 > 专利资讯 > 正文

【专利】提供致动机动车辆传动系中的致动器的液压压力的泵单元(专利号:201910812593.4)

来源:互联网 时间:2020-4-9 14:23 点击:146
专利号:201910812593.4
专利状态:审中-公开
专利类型:[发明]
专利申请人:FTE汽车有限责任公司
专利分类号:F16H61/00(20060101)
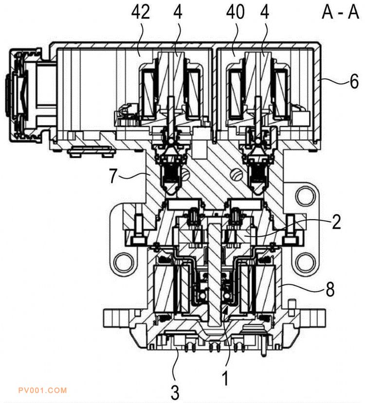
专利摘要:公开(公告)日:2020-03-20摘要:本发明涉及一种泵单元,用于提供用于致动机动车辆的传动系中的致动器的液压压力,所述致动器特别是离合器致动器或变速箱致动器,所述泵单元具有泵(2)、用于液压流体的储存容器(6)和至少一个电磁阀(4),其特征在于,所述电磁阀(4)设置在所述储存容器(6)内,使得所述电磁阀被液压流体围绕。