当前位置:首页 > 专利资讯 > 正文

【专利】一种用于排渣阀的过滤阀杆(专利号:201920602656.9)

来源:互联网 时间:2020-4-9 14:17 点击:121
专利号:201920602656.9
专利状态:有权
专利类型:[实用新型]
专利申请人:天津钢研广亨特种装备股份有限公司
专利分类号:F16K41/02(20060101)
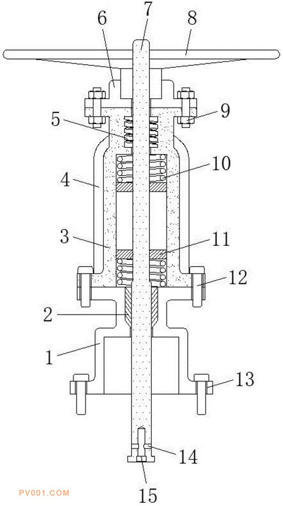
专利摘要:公开(公告)日:2020-03-24摘要:本实用新型公开了一种用于排渣阀的过滤阀杆,包括安装座、管体、阀盖、阀杆和调节手柄,所述阀杆的底部套装有安装座,安装座顶部的内侧壁上固定有等间距的斜向密封圈,所述安装座上方的阀杆外部套装有管体,管体顶部的内侧壁上设有螺纹通槽,所述阀杆顶部的外侧壁上设有外螺纹,所述阀杆的顶端固定有调节手柄,调节手柄的底部套装有阀盖,所述阀盖的边缘位置处安装有四组紧定螺栓,且相邻紧定螺栓之间的夹角皆为九十度,紧定螺栓的底端皆贯穿阀盖并与管体的顶端螺纹连接。本实用新型不仅提高了过滤阀杆的装配效率,延长了过滤阀杆的使用寿命,而且保证了过滤阀杆的运行稳定。