当前位置:首页 > 专利资讯 > 正文

【专利】一种可迅速加热的家用热泵水箱(专利号:201911107114.5)

来源:互联网 时间:2020-4-1 16:33 点击:125
专利号:201911107114.5
专利状态:审中-公开
专利类型:[发明]
专利申请人:广东纽恩泰新能源科技发展有限公司
专利分类号:F24H4/04(20060101)
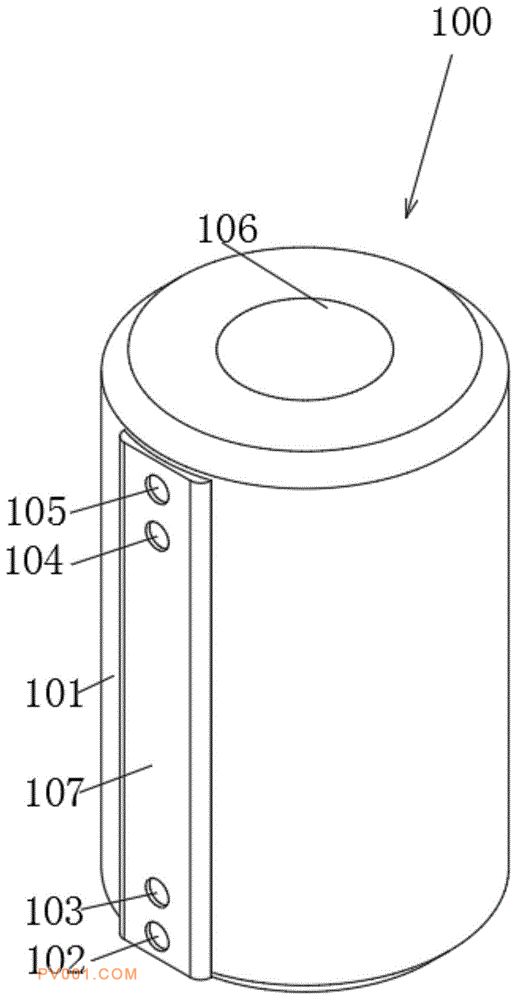
专利摘要:公开(公告)日:2020-03-27摘要:本发明公开了一种可迅速加热的家用热泵水箱,包括外筒体和内筒体,所述内筒体固定在外筒体的内部,所述外筒体包括外筒和面板,所述外筒外侧壁固定有面板,所述面板靠近下端表面开设有进水口,所述面板的表面紧邻外筒顶面所在位置处开设有出水口,所述面板表面紧邻进水口上部开设有冷媒进口,所述面板表面出水口下部开设有冷媒出口,所述内筒体包括内筒和冷媒管,所述内筒外壁环绕开设有冷媒槽,所述冷媒槽的内部缠绕固定有冷媒管。本发明中,通过设置冷媒槽固定冷媒管将冷媒管外置,且冷媒管能够与内筒充分接触,相比于将冷媒管置于内筒内部,能够起到防止腐蚀的目的,同时保证了冷媒管热能利用率。