当前位置:首页 > 专利资讯 > 正文

【专利】一种用于滤清器的止回阀结构及其滤清器(专利号:201920857682.6)

来源:互联网 时间:2020-4-1 14:38 点击:132
专利号:201920857682.6
专利状态:有权
专利类型:[实用新型]
专利申请人:深圳华盛过滤系统有限公司
专利分类号:F01M11/03(20060101)
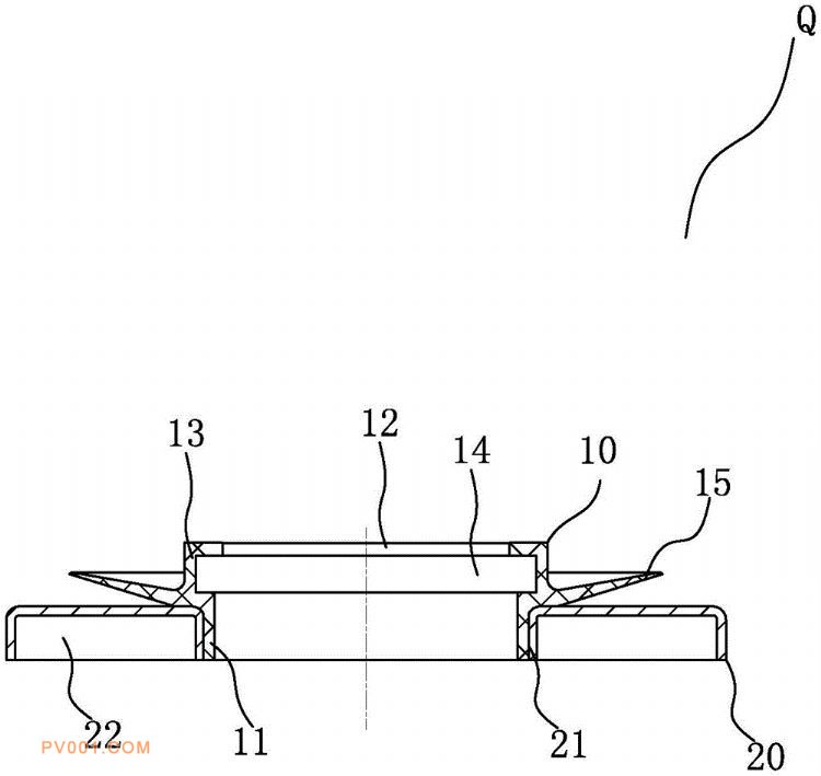
专利摘要:公开(公告)日:2020-03-27摘要:本实用新型涉及一种用于滤清器的止回阀结构及其滤清器。一种用于滤清器的止回阀结构,包括止回阀件,及与止回阀件固定联接的端盖件;所述止回阀件设有与端盖件联接的连接部;所述连接部为圆环状结构;所述端盖件设有内孔,以使套合于连接部外侧。本实用新型通过止回阀件与端盖件一体成型的方式,提高生产效率,减少物料管理成本,降低原材料及生产过程成本。