当前位置:首页 > 专利资讯 > 正文

【专利】比例电磁阀(专利号:201910847004.6)

来源:互联网 时间:2020-4-1 14:05 点击:133
专利号:201910847004.6
专利状态:审中-公开
专利类型:[发明]
专利申请人:株式会社三国
专利分类号:F16K1/32(20060101)
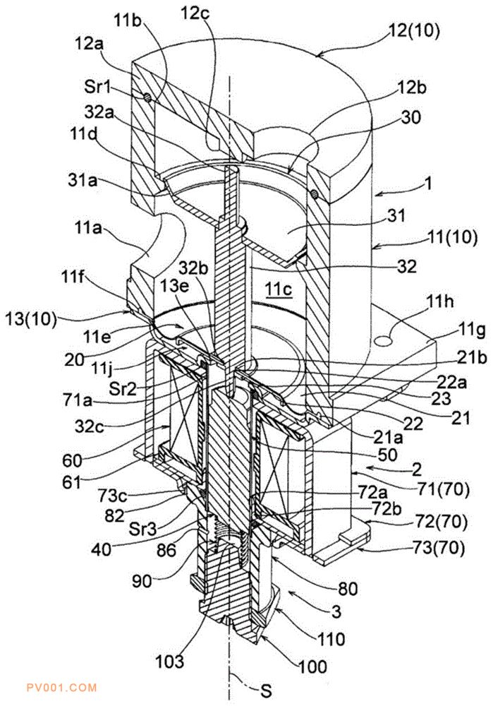
专利摘要:公开(公告)日:2020-03-27摘要:本发明提供一种如所期望的性能不会因外部振动等而劣化的比例电磁阀。在比例电磁阀中,设置有限制柱塞(40)超过规定冲程进行移动的限制部(103),所述比例电磁阀包括:划定流体的通道(11c)和通道的中途的阀座(11d)的壳体(10)、在比阀座更靠上游侧配置在壳体内并带来调压作用的隔膜(20)、与隔膜联动并以相对于阀座可落座和脱离的方式移动的阀体(30)、以及包含卡合在阀体并带来驱动力的柱塞(40)的电磁驱动单元(2)。据此,在比例电磁阀的搬送时等,可防止柱塞(40)受到外部振动而过度地振动。