当前位置:
首页
>
专利资讯
> 正文
【专利】摩托车减压阀组件(专利号:201921086692.0)
来源:互联网
时间:2020-4-1 13:21
点击:152
专利号:201921086692.0
专利状态:有权
专利类型:[实用新型]
专利申请人:台州华联粉末冶金制品股份有限公司
专利分类号:F01L13/08(20060101)
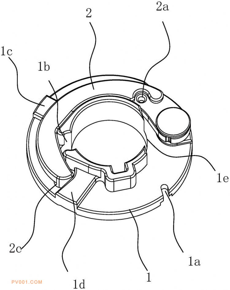
专利摘要:公开(公告)日:2020-03-27摘要:本实用新型提供了摩托车
减压阀
组件,属于机械领域。本摩托车
减压阀
组件包括限位盘和甩块,甩块的一端转动连接于限位盘上,限位盘上具有安装部一,甩块上具有安装部二,安装部一和安装部二用于弹簧安装。本组件减少了复位机构的复杂程度,便于装配。
上一篇:
【专利】一种泵阀管道的防堵塞处理方法(专利号:201911272061.2)
下一篇:
【中标候选人公示】桐泾路北延工程污水泵房施工项目TJL-SG5中标候选人公示
专利资讯推荐
更多>>
浙江汇正阀门科技股份有限公司研发的“一种
总投资27.15亿元!内蒙古鄂尔多斯又一重大
2024年03月13日长江镍价格行情参考
2024年03月13日长江锌价格行情参考
2024年03月13日长江铜价格行情参考
2024年03月13日长江铅价格行情参考
2024年03月13日长江铝锭价格行情参考
2024年03月13日长江锡价格行情参考
【专利】一种混凝土地泵管路支撑装置(专利
【专利】混凝土泵车臂架、混凝土泵车臂架组
【专利】新型电动充气泵主体、内置式气泵和
【专利】一种泵驱动轮的端面成型槽刀(专利
【专利】一种便于检修的预制泵站筒体(专利
【专利】车载充气泵(T018D)(专利号:20203
【专利】取水泵船仿古屋顶(专利号:20193058
【专利】一种大流量耐腐蚀旋转泵(专利号:20
【专利】一种车用热泵空调系统(专利号:2019
【专利】一种变频地源热泵(专利号:20192235
【专利】一种自清洗型水泵(专利号:20192208
【专利】一种地源热泵中央空调机组减震安装