当前位置:首页 > 专利资讯 > 正文

【专利】一种气驱动型五柱塞加压泵(专利号:201921125914.5)

来源:互联网 时间:2020-4-1 10:45 点击:141
专利号:201921125914.5
专利状态:有权
专利类型:[实用新型]
专利申请人:湖南科技大学
专利分类号:F04B35/02(20060101)
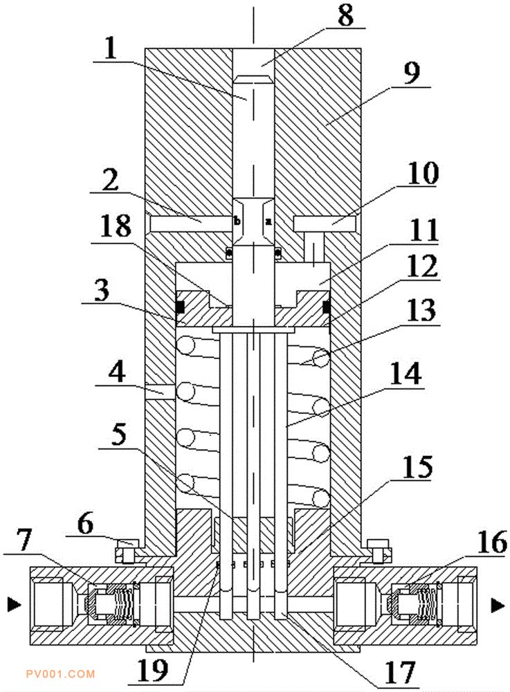
专利摘要:公开(公告)日:2020-03-27摘要:本实用新型公开了一种气驱动型五柱塞加压泵,包括泵体、柱塞、活塞、弹簧及轴承座;所述的泵体顶部中间设有柱塞孔I;柱塞上端在柱塞孔I中;泵体底部设有多个相互连通的柱塞孔Ⅱ,柱塞的下端设有多个柱塞杆,多个柱塞杆分别插装在多个柱塞孔内;所述的活塞设在泵体内腔内,活塞安装在柱塞上,活塞的下端连接弹簧的上端,弹簧的下端连接泵体底部;泵体侧壁上设有进气口、出气口及排气口,进气口、出气口位于活塞上方,排气口位于活塞下方;柱塞上部设有环形凹槽;所述泵体底部设有两个单向阀,单向阀与柱塞孔Ⅱ相通;泵体底部设有轴承座,轴承座上对应于每个柱塞杆设有一个通孔。本实用新型体积小、流量大、成本低、结构简单,维护方便。