当前位置:首页 > 专利资讯 > 正文

【专利】一种扁式微型气泵(专利号:201911265207.0)

来源:互联网 时间:2020-4-1 09:15 点击:106
专利号:201911265207.0
专利状态:审中-公开
专利类型:[发明]
专利申请人:安徽冠东科技有限公司
专利分类号:F04B27/02(20060101)
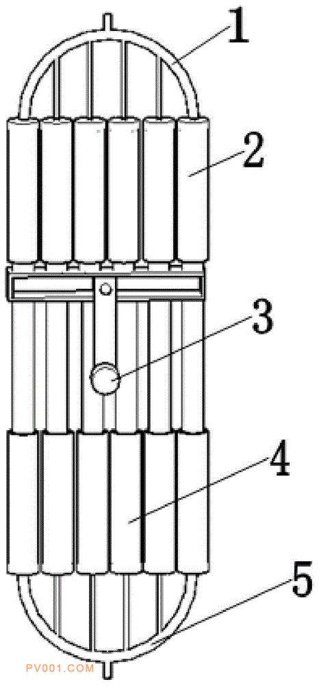
专利摘要:公开(公告)日:2020-03-27摘要:本发明涉及微型气泵技术领域,特别涉及小型血压计的一种扁式微型气泵。所述一种扁式微型气泵,包括:管体一、活塞组一、传动装置、活塞组二、管体二;所述管体一包括:导气管一、导气管二、导气管三;所述导气管二为弧形结构,所述导气管三的下端与导气管二的顶部相通连。本发明使微型气泵的整体结构实现了扁平化,便于超薄式臂式电子血压计的使用及存储;电机旋转一周即能使两组多个缸体完成加压,加压量大且加压速度快。