当前位置:首页 > 专利资讯 > 正文

【专利】一种泵结构非按压式取液分配器(专利号:201920808413.0)

来源:互联网 时间:2020-4-1 08:03 点击:114
专利号:201920808413.0
专利状态:有权
专利类型:[实用新型]
专利申请人:宁波劳仕塑业科技有限公司
专利分类号:B65D83/14(20060101)
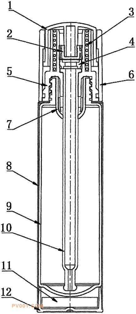
专利摘要:公开(公告)日:2020-03-27摘要:本实用新型公开了一种泵结构非按压式取液分配器,涉及取液分配器领域,包括内瓶和滴管,所述内瓶瓶口外部螺纹连接有大盖,所述滴管顶部固定插接于大盖内,滴管底部延伸至内瓶内底部;所述滴管顶部连接有阀座,阀座顶部连接有泵活塞,所述大盖外部套接有与泵活塞连接的压盖,压盖与大盖之间设置有弹簧;所述压盖内壁设置有凸台,所述大盖外壁开设有与压盖内壁凸台配合的螺旋轨道。本实用新型通过泵活塞和弹簧取代硅胶头的功能,使得滴管内的液体在泵活塞的阻挡下无法反向流出,并且在泵活塞的移动下使得滴管虹吸容器内的液体,起到液体分配作业,由软胶的弹力转化为弹簧的弹力,不受到塑胶材料弹性局限性的限制,拓展了可以灌装液体的范围。