当前位置:首页 > 专利资讯 > 正文

【专利】油泵电机、变速箱及汽车(专利号:201610505670.8;107565756B)

来源:互联网 时间:2020-3-30 09:26 点击:154
专利号:201610505670.8;107565756B
专利状态:有权
专利类型:[发明授权]
专利申请人:上海汽车集团股份有限公司
专利分类号:H02K9/19(20060101)
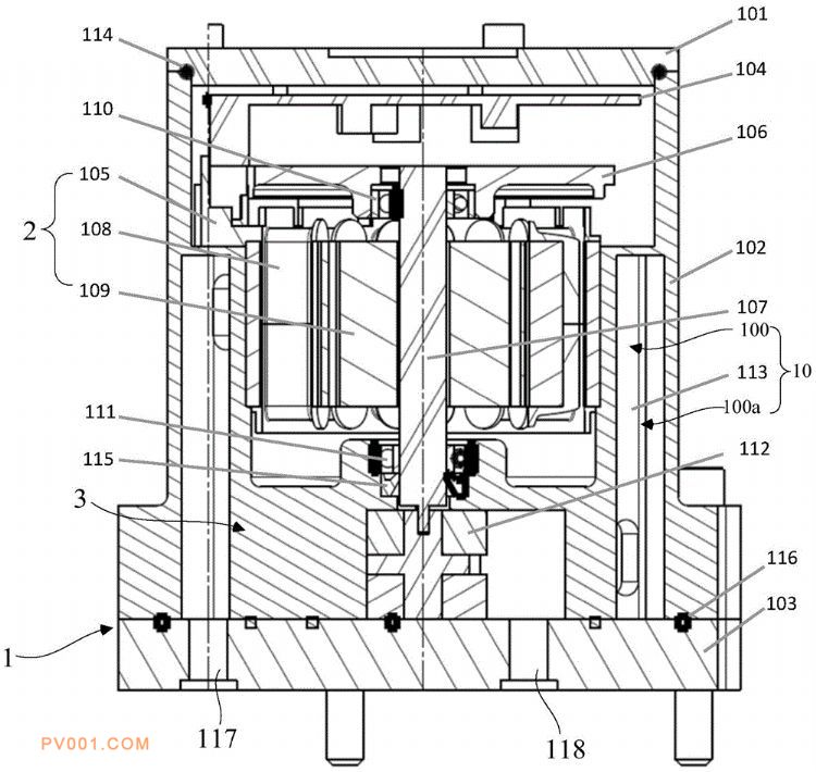
专利摘要:公开(公告)日:2020-03-10摘要:一种油泵电机、变速箱及汽车,其中,油泵电机包括:外壳,所述外壳上设有进油口和出油口;位于所述外壳内的电机和油泵,所述电机用于驱动所述油泵;所述油泵具有相互连通的进油腔和出油腔,所述出油腔与所述出油口连通;位于所述外壳内、电机和油泵外的冷却通道,所述冷却通道的管壁与所述电机、油泵接触,所述冷却通道具有入口和出口,所述入口与所述进油口连通,所述出口与所述进油腔连通。本发明变速箱油液完成了在油泵电机中的循环,在冷却通道内流通时,由于冷却通道的管壁与电机和油泵接触,冷却通道内的变速箱油液能够对电机和油泵实现冷却,无需将油泵电机浸泡在变速箱油液中,冷却散热效果也理想。