当前位置:首页 > 专利资讯 > 正文

【专利】一种旁通阀液力反馈抽油泵(专利号:201920784691.7)

来源:互联网 时间:2020-3-28 07:26 点击:231
专利号:201920784691.7
专利状态:有权
专利类型:[实用新型]
专利申请人:中国石油天然气股份有限公司
专利分类号:F04B47/00(20060101)
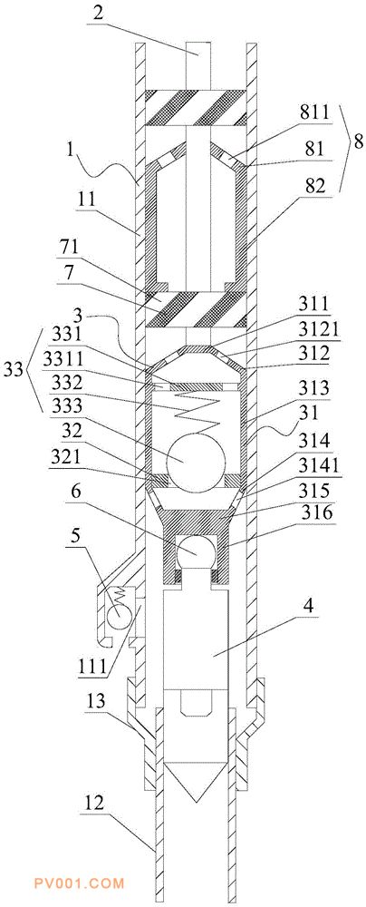
专利摘要:公开(公告)日:2020-03-10摘要:本实用新型提供一种旁通阀液力反馈抽油泵,包括泵筒结构、抽油杆、上柱塞及下柱塞,抽油杆、上柱塞及下柱塞由上至下顺次连接且同轴地滑动设于泵筒结构的内部,上柱塞的外表面、下柱塞的外表面分别与泵筒结构的内表面滑动接触,上柱塞的内部形成有供流体由下向上流通的单向通道,且上柱塞的下端处的外径缩小并与下柱塞组合形成缩径结构,且缩径结构与泵筒结构的内表面之间形成有封闭的环空,单向通道与环空连通,泵筒结构上沿其径向开设有至少一个与环空连通的通孔,且通孔处设有供流体由泵筒结构的外部流入泵筒结构的内部的单向阀。本实用新型的旁通阀液力反馈抽油泵能在下冲程过程中减少抽油杆受到的阻力,从而减少抽油杆偏磨现象的产生。