当前位置:首页 > 专利资讯 > 正文

【专利】角式止回阀(专利号:201920882626.8)

来源:互联网 时间:2020-2-18 11:42 点击:190
专利号:201920882626.8
专利状态:有权
专利类型:[实用新型]
专利申请人:浙江博民机电股份有限公司
专利分类号:F16K15/06(20060101)
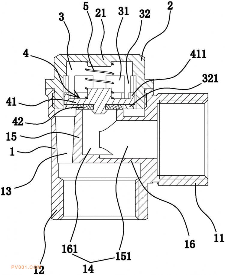
专利摘要:公开(公告)日:2020-01-24摘要:本实用新型提供了一种角式止回阀,属于阀门技术领域。它解决的问题是在保证止回功能可靠性的同时提高拆装便利性。本角式止回阀包括阀体以及设置于阀体内的止回组件,阀体下端为出水端且阀体侧部设有进水端,阀体内具有与出水端相连通的腔体,阀体上端开口并螺纹连接有阀盖,腔体内设有进水通道,进水通道的进口与进水端的内端口连通,进水通道的出口朝上设置并位于靠近阀体上端开口处,阀盖内固定有呈筒状且两端开口的定位套,止回组件包括均位于定位套内的止回芯子与止回弹簧,止回芯子与定位套滑动连接,定位套下端口处设有防止止回芯子从定位套内脱出的限位结构。本角式止回阀保证了止回功能可靠性的同时也很好地提高了拆装便利性。