当前位置:首页 > 专利资讯 > 正文

【专利】一种全塑耐腐长寿命立式液下泵(专利号:201920412824.8)

来源:互联网 时间:2020-2-11 15:19 点击:111
专利号:201920412824.8
专利状态:有权
专利类型:[实用新型]
专利申请人:鸿浩泵业有限公司
专利分类号:F04D7/06(20060101)
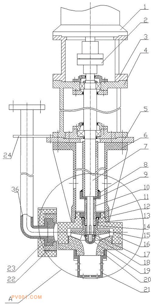
专利摘要:公开(公告)日:2020-01-17摘要:本实用新型属于泵制造技术领域,公开了一种全塑耐腐长寿命立式液下泵,以解决现有技术中由于介质特性和安装条件造成泵的寿命短,泵成本比较高的问题,该液下泵包括泵轴,泵轴的上端连接有电机,泵轴的上部装有底板、轴承箱,泵轴的下端装有叶轮,叶轮一侧泵轴的轴端装有叶轮密封,叶轮另一侧的泵轴上装有主密封组件,叶轮外装有全塑耐腐泵体,全塑耐腐泵体的一侧设有泵出口法兰,全塑耐腐泵体的上端螺纹连接有立柱,全塑耐腐泵体的下端螺纹连接有全塑耐腐泵盖,全塑耐腐泵盖的下端设有泵进口。本实用新型防止了由于紧固件的腐蚀而造成的泵损坏,有效提高了液下泵的使用寿命。