当前位置:首页 > 专利资讯 > 正文

【专利】一种便于携带的阀门用安装工具(专利号:201821797867.4)

来源:互联网 时间:2020-1-6 16:28 点击:108
专利号:201821797867.4
专利状态:有权
专利类型:[实用新型]
专利申请人:天津市双宝节水科技有限公司
专利分类号:B25F1/00(20060101)
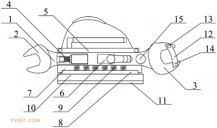
专利摘要:公开(公告)日:2019-12-31摘要:本实用新型提供一种便于携带的阀门用安装工具,包括握柄,左扳手,右扳手,可拆卸铁锈清理刷结构,防滑移动板结构,可调节杂物清理杆结构,防护板,阻挡板,缓冲簧,压板,防护垫,防护片,转轴,防护螺钉和挂接孔,所述的左扳手焊接在握柄的左侧;所述的右扳手焊接在握柄的右侧;所述的可拆卸铁锈清理刷结构设置在握柄正表面左侧的中间位置;所述的防滑移动板结构设置在握柄的上部。本实用新型防护壳,插接管,伸缩杆,夹块,减震簧和擦拭片的设置,有利于对阀门外管壁上的铁锈进行清理;放置板,防护孔,防护带,防滑垫,握杆,和防滑套的设置,有利于对安装工具进行携带。