当前位置:首页 > 专利资讯 > 正文

【专利】一种密闭式风量调节阀(专利号:201920298829.2)

来源:互联网 时间:2019-12-17 14:33 点击:109
专利号:201920298829.2
专利状态:有权
专利类型:[实用新型]
专利申请人:上海金永利空调风机有限公司
专利分类号:F24F13/15(20060101)
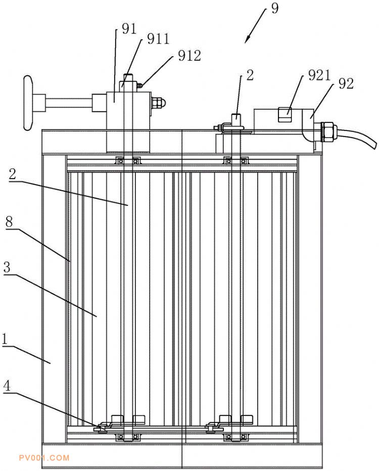
专利摘要:公开(公告)日:2019-11-29摘要:本实用新型涉及一种密闭式风量调节阀,其包括调节阀外框、转轴、叶片和执行机构,所述叶片通过转轴转动连接在调节阀外框内,相邻所述叶片通过连杆装置联动,所述调节框内设置有供转轴安装的轴肩支架,所述轴肩支架内设置有轴承,所述转轴长度方向的两端与轴肩支架通过轴承转动连接,所述转轴长度方向的一端伸出调节阀外框的外壁并与执行机构相连;所述轴肩支架与叶片之间设置有密封件,所述密封件远离轴肩支架的一端与叶片端面抵触。本实用新型具有密封性能好的效果。