当前位置:首页 > 专利资讯 > 正文

【专利】用于充气产品的气阀组件及充气产品(专利号:201920251489.8)

来源:互联网 时间:2019-12-16 14:13 点击:139
专利号:201920251489.8
专利状态:有权
专利类型:[实用新型]
专利申请人:上海荣威塑胶工业有限公司
专利分类号:F16K15/20(20060101)
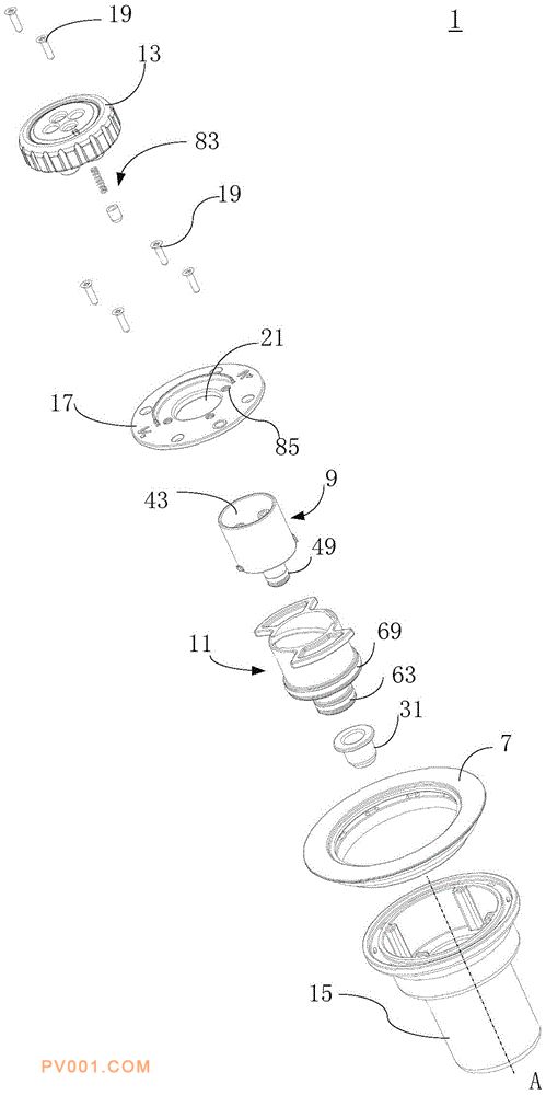
专利摘要:公开(公告)日:2019-11-26摘要:本实用新型提供了一种用于充气产品的气阀组件和一种充气产品。所述气阀组件包括:壳体,所述壳体限定一轴向方向,所述壳体的顶部具有开孔,所述壳体的底部具有阻隔部,所述壳体还具有位于所述阻隔部的外内两侧的第一通气孔和第二通气孔;旋转部,所述旋转部设置在所述壳体内,所述旋转部具有开口和第三通气孔,所述第三通气孔通过所述开口与所述壳体的外部连通;升降部,所述升降部设置在所述旋转部外部且位于所述壳体内,所述升降部具有第四通气孔;其中,所述旋转部能够旋转以驱动所述升降部在所述壳体的轴向方向上运动从而改变所述第一通气孔与所述第二通气孔的连通状态以及所述第二通气孔与所述开口的连通状态。