当前位置:首页 > 专利资讯 > 正文

【专利】用于汽车阀片的圆周抛光设备(专利号:201920227050.1)

来源:互联网 时间:2019-12-16 14:04 点击:109
专利号:201920227050.1
专利状态:有权
专利类型:[实用新型]
专利申请人:磐石市星环阀片有限公司
专利分类号:B24B41/06(20120101)
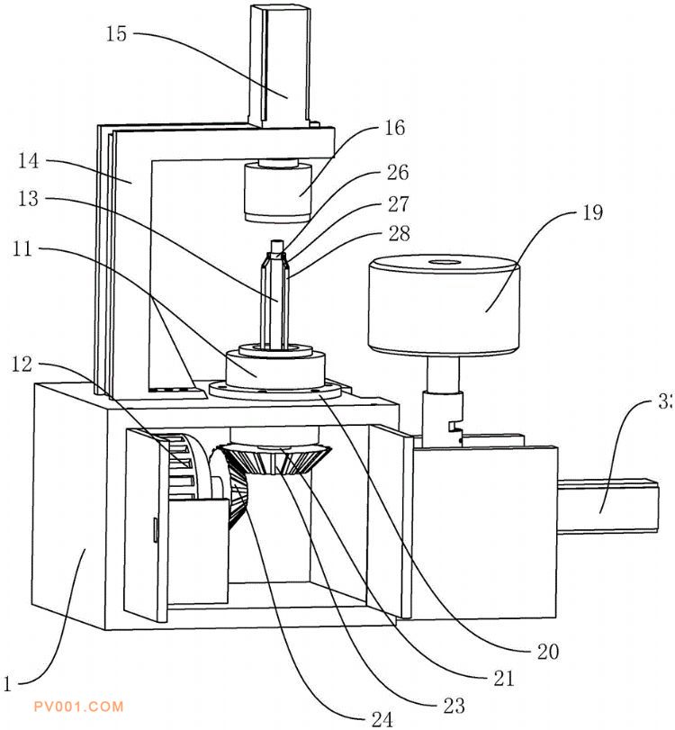
专利摘要:公开(公告)日:2019-11-26摘要:本实用新型公开了一种用于汽车阀片的圆周抛光设备,涉及阀片加工设备,旨在解决现有技术中缺乏一种针对阀片圆周面的抛光设备,其技术方案要点是:一种用于汽车阀片的圆周抛光设备,包括工作台,工作台转动连接有旋转座,工作台设置有减速电机,旋转座的中心设置有插接柱;工作台固定设置有弯臂,弯臂固定设置有下压气缸,下压气缸同轴转动连接有下压件,下压件配合旋转座夹紧多个阀片;工作台滑移连接有进给座,进给座固定设置有交流电机,交流电机的输出轴同轴固定有抛光轮。本实用新型的一种用于汽车阀片的圆周抛光设备,利用阀片圆周面与抛光轮的相对摩擦,实现对多个阀片圆周面的抛光,同时,采用批量式抛光,有效提高了抛光的效率。