当前位置:首页 > 专利资讯 > 正文

【专利】一种下出油式线控制动系统高速开关电磁阀(专利号:201821952999.X)

来源:互联网 时间:2019-12-16 13:43 点击:114
专利号:201821952999.X
专利状态:有权
专利类型:[实用新型]
专利申请人:万向钱潮股份有限公司
专利分类号:万向集团公司
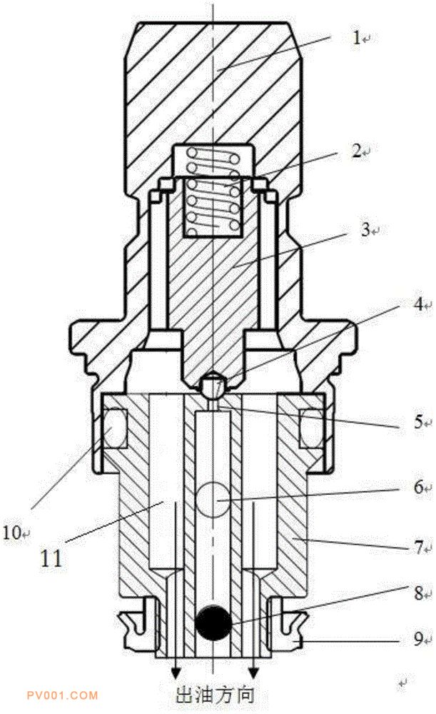
专利摘要:公开(公告)日:2019-11-26摘要:本实用新型公开了一种下出油式线控制动系统高速开关电磁阀,线圈套在阀体上,包括阀体、预紧弹簧、动铁、钢球、球座、出油油路、进油油路、阀座和封堵钢球,所述阀体与阀座密封连接,阀体内部中空,阀体内部底部连接预紧弹簧,动铁底部中央开孔并通过该孔与预紧弹簧连接,动铁顶部中央开孔并通过该孔容纳钢球;阀座内部中央开设两端开口的中通道,中通道上端开口为球座,球座直径小于钢球直径并且设置有锥面,球座通过锥面与钢球配合,中通道侧面与进油油路连通,进油油路与外部连通,封堵钢球位于中通道下端出口并且与中通道密封连接,在阀座内部的中通道外围开设两端开口的出油油路,出油油路与外部连通。