当前位置:首页 > 专利资讯 > 正文

【专利】一种阀门生产检测用氮气压力试验装置(专利号:201920156064.9)

来源:互联网 时间:2019-12-16 13:40 点击:90
专利号:201920156064.9
专利状态:有权
专利类型:[实用新型]
专利申请人:大连亿升科技发展有限公司
专利分类号:F16M3/00(20060101)
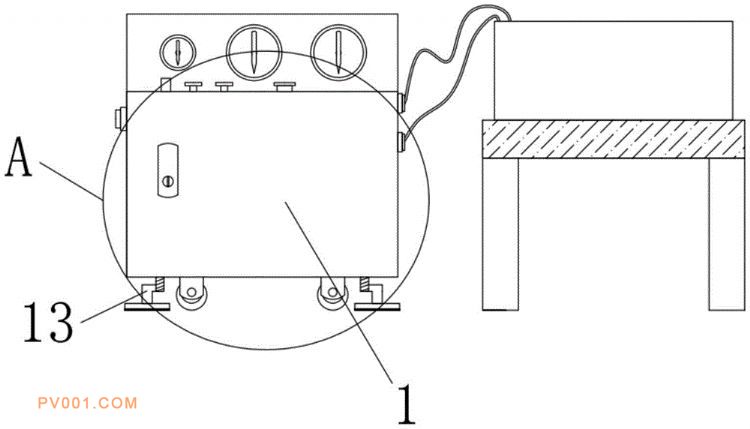
专利摘要:公开(公告)日:2019-11-26摘要:本实用新型属于压力试验设备技术领域,尤其为一种阀门生产检测用氮气压力试验装置,包括壳体,所述壳体的底部内壁上固定安装有伺服电机,所述伺服电机的输出轴上固定安装有第一圆形齿轮,所述壳体内转动安装有横杆,所述横杆上固定套设有第二圆形齿轮,所述第二圆形齿轮与第一圆形齿轮啮合,所述横杆的两端均固定安装有第一锥形齿轮,所述壳体内转动安装有四个第一圆杆,对应的两个靠近伺服电机的第一圆杆上均固定套设有第二锥形齿轮,所述第二锥形齿轮与对应的第一锥形齿轮啮合,所述第一圆杆的底端开设有第一凹槽。本实用新型结构简单,实用性强,便于调整氮气压力试验设备的位置,操作起来简单便捷。