当前位置:首页 > 专利资讯 > 正文

【专利】一种具有反向流体供给功能的止回阀(专利号:201822163208.1)

来源:互联网 时间:2019-12-16 13:36 点击:131
专利号:201822163208.1
专利状态:有权
专利类型:[实用新型]
专利申请人:纽曼(盐城)阀门制造有限公司
专利分类号:F16K15/06(20060101)
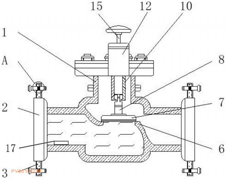
专利摘要:公开(公告)日:2019-11-26摘要:本实用新型公开了一种具有反向流体供给功能的止回阀,包括止回阀本体、限位槽和反向腔,所述止回阀本体的左右两侧均固定安装有法兰本体,且法兰本体的上下两端均设置有连接槽,所述连接槽的内侧安置有连接螺杆,且连接螺杆的外部包裹有连接螺块,所述限位槽开设于止回阀本体的内部,且限位槽的上端安置有止回块,所述止回块的上端固定连接有活动杆,且活动杆的上端左右两侧均设置有限制杆,所述限制杆的外部包裹有活动槽。该具有反向流体供给功能的止回阀,通过活动槽底端抵挡块的限制,可以使活动杆通过限制杆停留在抵挡块的上端,抵挡块之间的宽度小于限制杆之间的宽度,活动杆不会从活动槽的内部掉出。