当前位置:首页 > 专利资讯 > 正文

【专利】一种超低温阀门逸散性组合填料结构(专利号:201920418570.0)

来源:互联网 时间:2019-12-16 13:21 点击:111
专利号:201920418570.0
专利状态:有权
专利类型:[实用新型]
专利申请人:湖北泰和石化设备有限公司
专利分类号:F16K41/02(20060101)
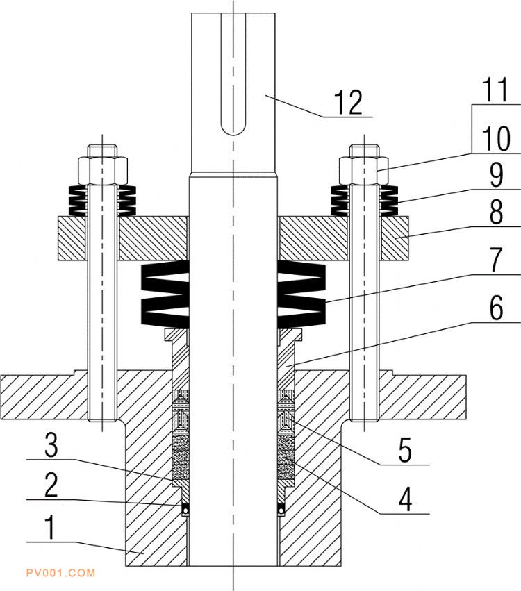
专利摘要:公开(公告)日:2019-11-26摘要:一种超低温阀门逸散性组合填料结构,包括阀盖、阀杆,所述阀杆与阀盖的内腔之间形成有间隔空间,间隔空间内从下往上依次设有第一重密封、第二重密封;所述第一重密封为弹簧蓄能密封圈,弹簧蓄能密封圈安装在阀盖处的第一道坎肩上;所述第二重密封包括上半部的V型PCTFE填料和下半部的浸石棉PTFE填料。本实用新型提供的一种超低温阀门逸散性组合填料结构,密封性能好、安全等级高。