当前位置:首页 > 专利资讯 > 正文

【专利】阀和阀装置(专利号:201910414188.7)

来源:互联网 时间:2019-12-16 13:17 点击:146
专利号:201910414188.7
专利状态:审中-公开
专利类型:[发明]
专利申请人:艾福迈精密部件公司
专利分类号:F16K31/70(20060101)
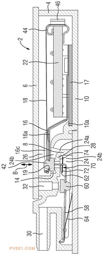
专利摘要:公开(公告)日:2019-11-26摘要:本发明涉及阀和阀装置,阀(2)有阀壳体(4),其包括壳体盖(6)、壳体底部(10)和布置在壳体盖(6)和壳体底部(10)间的中间壳体(8),其中阀壳体(4)包围包括流动室(24)和致动室(26)的阀室(12),其中阀壳体(4)有从流动室(24)通向致动室(26)的至少一阀开口(14)且至少一执行元件(16)、由形状记忆合金制成的丝线状或带状SMA元件(18)及电路板(22)布置在致动室(26)内,执行元件可在闭锁阀开口(14)的闭合位置与开启阀开口(14)的打开位置间移动,执行元件在第一端有阀元件且在第二端与阀壳体和/或基板连接,SMA元件用于在打开方向致动执行元件(16),其中SMA元件(18)通过中间部分(18c)固定到执行元件(16)并通过其端部(18a、18b)与电路板(22)电连接以被施加电流,其中SMA元件(18)在中间部分(18c)U形弯曲,其中阀包括控制器(58)。