当前位置:首页 > 专利资讯 > 正文

【专利】一种弹簧自锁式快接截止阀(专利号:201920077931.X)

来源:互联网 时间:2019-12-16 12:53 点击:115
专利号:201920077931.X
专利状态:有权
专利类型:[实用新型]
专利申请人:江苏圣业阀门有限公司
专利分类号:F16K3/24(20060101)
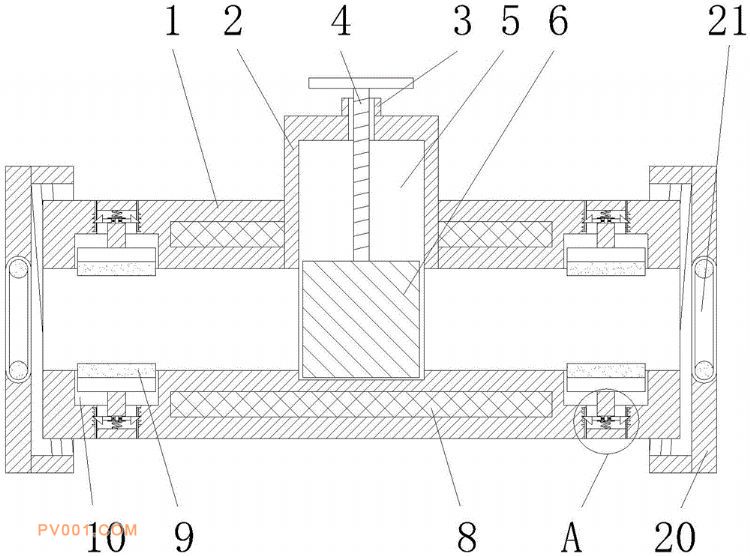
专利摘要:公开(公告)日:2019-11-26摘要:本实用新型公开了一种弹簧自锁式快接截止阀,包括阀管和固定套,所述阀管的中部上端固定有连接管,且连接管的上端通过密封管与连接杆相互连接,所述连接杆的下端固定有阀块,所述阀管的内部中间安装有隔热层,且阀管左右两端内部均设置有活动块,同时活动块的外端均通过连接柱和预留槽与阀管相互连接,所述连接柱的外端通过拉伸弹簧和伸缩槽与阀管相互连接,且连接柱的左右两端均通过卡块和卡槽与阀管相互连接,所述卡块通过凹槽和支撑柱与连接柱相互连接,所述固定套分别安装在阀管的左右两端。该弹簧自锁式快接截止阀,不仅便于使用者在装置整体与水管接头之间进行拆卸和安装工作,同时可以增加装置整体的密闭性。