当前位置:首页 > 专利资讯 > 正文

【专利】定量阀调整结构(专利号:201920275576.7)

来源:互联网 时间:2019-12-16 11:49 点击:120
专利号:201920275576.7
专利状态:有权
专利类型:[实用新型]
专利申请人:久隆机械工业有限公司
专利分类号:F16K31/53(20060101)
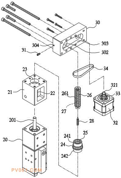
专利摘要:公开(公告)日:2019-11-26摘要:本实用新型公开了一种定量阀调整结构,包含:一定量阀,设有一阀杆;一固定座,设有一中心孔,固定座顶面设有一座环槽供枢组一从动齿轮的下枢接端;从动齿轮贯设一内螺旋通孔供螺组一外螺旋杆,外螺旋杆具有一杆侧槽,固定座组设于该定量阀,使阀杆由固定座下方穿设于中心孔内;一底座,一侧依序设有一顶圆槽、一内环槽及一底长槽;底座一侧组设于该固定座,并使内环槽枢组从动齿轮的上枢接端;底座侧边设有一侧螺孔,配合一螺销螺组于侧螺孔,令螺销嵌入杆侧槽中;一具有一传动轴的步进马达,传动轴上固设一主动齿轮,步进马达组设于底座另一侧底面,且主动齿轮容置于该底长槽中;一皮带,其绕设于主动齿轮与从动齿轮。借此,使其装设空间缩小。