当前位置:首页 > 专利资讯 > 正文

【专利】出水阀组件、使用该出水阀组件的水箱及加湿器(专利号:201920315268.2)

来源:互联网 时间:2019-12-16 11:38 点击:95
专利号:201920315268.2
专利状态:有权
专利类型:[实用新型]
专利申请人:小熊电器股份有限公司
专利分类号:F16K1/32(20060101)
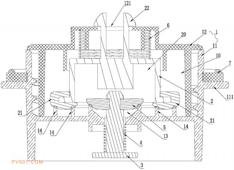
专利摘要:公开(公告)日:2019-11-26摘要:本实用新型公开一种出水阀组件、使用该出水阀组件的水箱及加湿器。该出水阀组件包括:具有第一出水流道的下水部;设置在第一出水流道的出水口的阀体、与阀体固定相连的顶杆和第一弹性部;设置在第一出水流道内的隔离器,该隔离器内设有第二出水流道,该隔离器在不受顶杆作用时处于第一位置使第二出水流道不与第一出水流道相连通,该隔离器在顶杆上移预设距离后受顶杆作用后处于第二位置使第二出水流道与第一出水流道相连通。本实用新型由出水阀组件提供多重出水保护,结构简单且可拆卸清洗,出现漏水的概率极低从而提高了可靠性。