当前位置:首页 > 专利资讯 > 正文

【专利】啤酒桶阀体浇筑口研磨机(专利号:201920033963.X)

来源:互联网 时间:2019-12-16 11:26 点击:161
专利号:201920033963.X
专利状态:有权
专利类型:[实用新型]
专利申请人:伊势精密金属(大连)有限公司
专利分类号:B24B21/00(20060101)
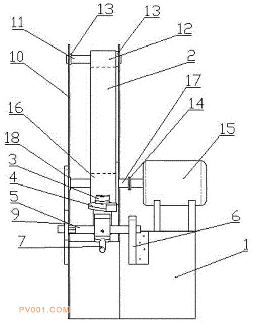
专利摘要:公开(公告)日:2019-11-26摘要:本实用新型属于一种啤酒桶阀体浇筑口研磨机,包括研磨机座,在研磨机座的左侧固定两个立板,在右侧上面装有一个伺服电机,其特征在于伺服电机的轴用联轴器与主动轴固定连接,主动轴上固定一个主动辊筒;在从动轴上固定有从动辊筒,在从动辊筒与主动辊筒之间缠绕砂布带;在水平轴的中部与砂布带相对应装有一个上下旋转手柄;在立轴上固定一个左右旋转手柄,上端装有轴套。本实用新型实现了对啤酒桶阀体加工的半机械化,不用手拿工件,保证了安全生产,提高了产品质量和生产效率。