当前位置:首页 > 专利资讯 > 正文

【专利】电磁阀(专利号:201920425402.4)

来源:互联网 时间:2019-12-16 11:20 点击:88
专利号:201920425402.4
专利状态:有权
专利类型:[实用新型]
专利申请人:杨前进
专利分类号:F16K31/06(20060101)
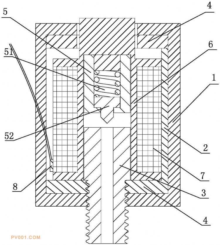
专利摘要:公开(公告)日:2019-11-26摘要:本实用新型采用了一种电磁阀,包括动阀芯、静阀芯、线圈本体,线圈本体包括线圈骨架及线圈,该线圈骨架呈中空结构在内部形成贯通的主流道,动阀芯与静阀芯分别设置于所述中空结构的线圈本体内,线圈本体的外侧设有用于形成磁场回路的导磁框架,导磁框架的外侧形成有与导磁框架以及线圈本体呈一体式浇注的塑料壳体,线圈骨架和动阀芯、静阀芯三者构成密闭的流动空间,动阀芯内沿其轴向方向对应静阀芯一侧开设有开孔,一个锥形的密封塞设置在开孔内,并通过一个弹性复位件形成对密封塞向外一个弹性压力,通过对电磁线圈结构改良以及对动、静阀芯的密封结构改进,为本实用新型的两大设计创新,由此对电磁阀的使用性能进行了提高,使其更稳当更可靠。