当前位置:首页 > 专利资讯 > 正文

【专利】可对阀前及阀后的流体速度进行监测的比例式减压阀(专利号:201910789876.1)

来源:互联网 时间:2019-12-16 11:12 点击:115
专利号:201910789876.1
专利状态:审中-公开
专利类型:[发明]
专利申请人:赵国栋
专利分类号:F16K37/00(20060101)
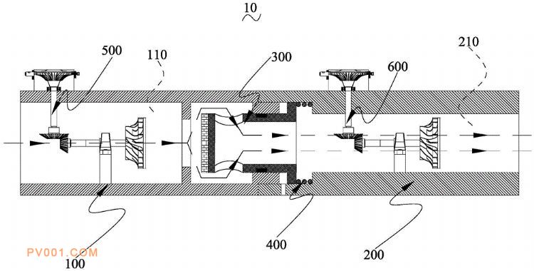
专利摘要:公开(公告)日:2019-11-26摘要:本发明公开一种可对阀前及阀后的流体速度进行监测的比例式减压阀,包括:前阀体、后阀体、活塞型阀瓣、弹性复位件、阀前流速监测装置及阀后流速监测装置。阀前流速监测装置与阀后流速监测装置的结构相同。阀前流速监测装置包括:阀前流体推动轮、阀前动力传送机构、阀前流体测速机构。阀前流体测速机构包括:阀前流体测速密封箱、阀前流体测速转动轮、阀前流体测速传感器、阀前转动轮锁止螺栓;阀前流体推动轮通过阀前动力传送机构与阀前流体测速转动轮驱动连接。本发明的比例式减压阀,对阀前及阀后的流体速度进行实时的监测,对意外事故进行有效预防,保证生产生活的用水安全。