当前位置:首页 > 专利资讯 > 正文

【专利】一种阀门生产检测用水压试验装置(专利号:201920155300.5)

来源:互联网 时间:2019-12-16 11:04 点击:89
专利号:201920155300.5
专利状态:有权
专利类型:[实用新型]
专利申请人:大连亿升科技发展有限公司
专利分类号:G01N3/12(20060101)
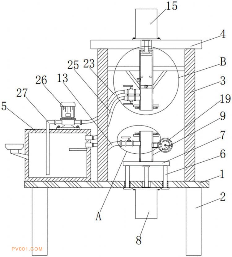
专利摘要:公开(公告)日:2019-11-26摘要:本实用新型属于阀门检测技术领域,尤其为一种阀门生产检测用水压试验装置,包括支撑板,所述支撑板的底部固定连接有四个呈矩形分布的立柱,所述支撑板的顶部固定连接有两个竖板,两个竖板的顶部固定连接有同一个顶板,所述支撑板的顶部固定安装有水箱,所述支撑板上滑动安装有四个呈矩形分布的导向滑杆,四个导向滑杆的顶端固定连接有同一个升降板,所述支撑板的底部固定安装有第一液压缸,所述第一液压缸的输出轴贯穿支撑板并与升降板的底部固定连接,所述升降板的顶部焊接有下检测管。本实用新型实用实用性高,能快捷的对阀门进行水压检测,操作简单,整体造价成本低,并且实验用水可循环使用,节水效果好。