当前位置:首页 > 专利资讯 > 正文

【专利】互锁式双阀门密封单罐体连续下料仓(专利号:201920309416.X)

来源:互联网 时间:2019-12-16 09:49 点击:122
专利号:201920309416.X
专利状态:有权
专利类型:[实用新型]
专利申请人:德龙(肇庆)科技有限公司
专利分类号:C10B53/02(20060101)
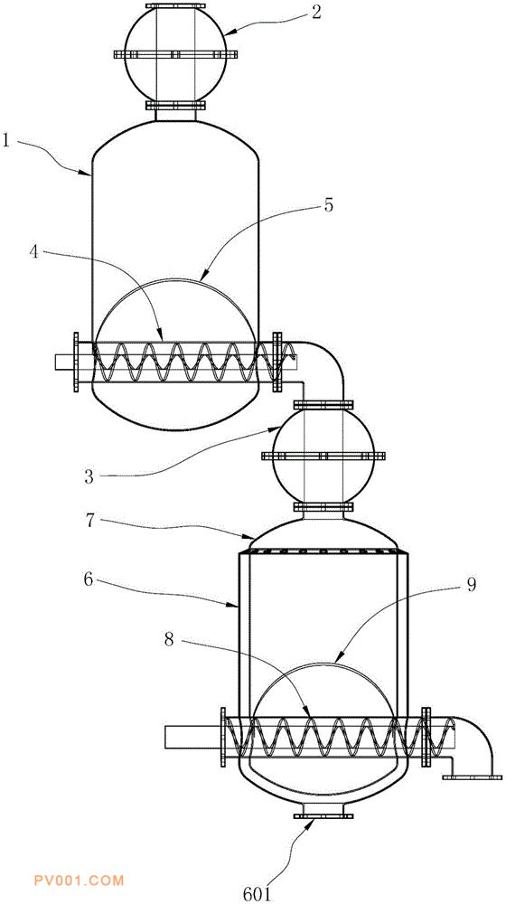
专利摘要:公开(公告)日:2019-11-26摘要:本实用新型公开了一种互锁式双阀门密封单罐体连续下料仓,包括仓体、第一阀门、第二阀门、第一输料器和抽气装置;仓体上设置有第一进料口,第一阀门安装在第一进料口;第一输料器安装在仓体底部,第一输料器用于将仓体内的生物质向外输出,第一输料器的末端设置第二阀门,第一输料器通过第二阀门连通至反应釜或其他生物质处理部件;抽气装置连接仓体,抽气装置用于对仓体内部进行抽真空处理;本实用新型的下料仓利用两个阀门的互锁关系确保每次第二阀门打开时,仓体内同样处于真空状态,生物质由仓体转入反应釜的过程不影响反应釜本身的真空环境,实现生物质热裂解工艺的连续化进行。