当前位置:首页 > 专利资讯 > 正文

【专利】超高压耐腐蚀滚珠丝杠平板阀(专利号:201920897463.0)

来源:互联网 时间:2019-12-16 09:19 点击:140
专利号:201920897463.0
专利状态:有权
专利类型:[实用新型]
专利申请人:建湖县鸿达阀门管件有限公司
专利分类号:F16K3/02(20060101)
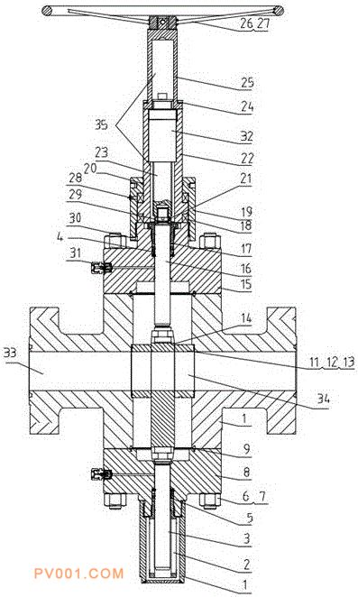
专利摘要:公开(公告)日:2019-11-26摘要:本实用新型公开了阀体技术领域的超高压耐腐蚀滚珠丝杠平板阀,包括阀体,阀体上设置有横向的流通孔,阀体内对称设置有两阀座,两阀座的中心均设置有阀座孔,两阀座孔与流通孔相连通,两阀座的轴线与流通孔的轴线重合,阀体的上下端均通过栽丝螺栓及螺母固定连接有上阀盖和下阀盖,阀体、上阀盖和下阀盖的中心均设置竖直通孔,三个竖直通孔的轴线重合,且三个竖直通孔相连通形成阀腔,阀腔内自上而下分别设置有依次连接的阀杆、阀板和下导杆,降低了该平板阀的开启和关闭力矩,缩短平板阀开关时间,有效防止了因螺纹连接失效引起的液体泄漏,显著提高了阀门的安全性和使用寿命。