当前位置:首页 > 专利资讯 > 正文

【专利】一种防堵塞气动阀(专利号:201920155330.6)

来源:互联网 时间:2019-12-16 09:14 点击:112
专利号:201920155330.6
专利状态:有权
专利类型:[实用新型]
专利申请人:大连亿升科技发展有限公司
专利分类号:F16K31/12(20060101)
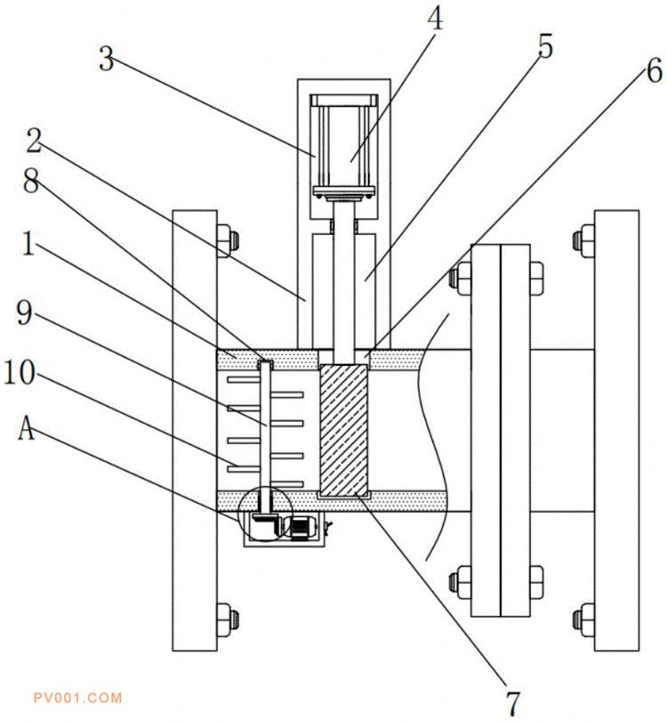
专利摘要:公开(公告)日:2019-11-26摘要:本实用新型属于气动阀技术领域,尤其为一种防堵塞气动阀,包括阀体,所述阀体的顶部固定安装有安装块,所述安装块上开设有腔体,所述腔体内固定安装有气缸,所述安装块的底部开设有滑动槽,所述气缸的输出轴延伸至滑动槽内,所述阀体的顶部内壁上开设有滑动孔,所述滑动孔与滑动槽相连通,所述滑动孔内滑动安装有阀板,所述阀板的顶部与气缸的输出轴固定连接,且阀板与阀体相适配,所述阀体的顶部内壁上开设有转动槽,所述转动槽内转动安装有转动杆,所述转动杆上固定安装有多个搅拌杆。本实用新型结构简单,实用性强,可以有效的防止阀体堵塞,保证了粘性流体的正常输送。