当前位置:首页 > 专利资讯 > 正文

【专利】一种阀门动作反馈探测装置(专利号:201920629191.6)

来源:互联网 时间:2019-12-16 09:12 点击:141
专利号:201920629191.6
专利状态:有权
专利类型:[实用新型]
专利申请人:江西力沃德科技有限公司
专利分类号:G01M13/003(20190101)
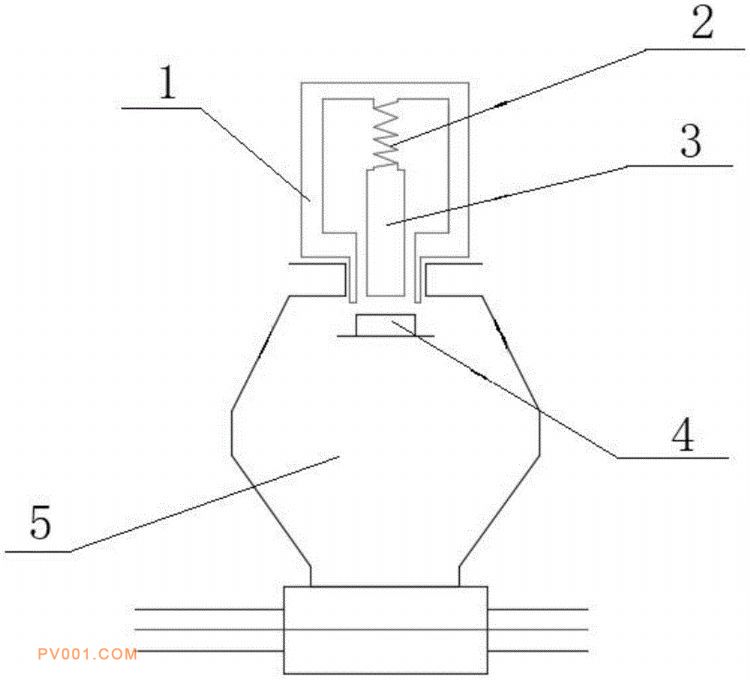
专利摘要:公开(公告)日:2019-11-26摘要:本实用新型公开了一种阀门动作反馈探测装置,包括压力传感器、接触杆、弹性连接件、数据采集模块和显示装置;所述弹性连接件的一端和所述接触杆连接,所述弹性连接件的另一端和所述压力传感器连接;所述接触杆设置在阀门的上端,所述接触杆和阀门的触头的位置相对应,所述压力传感器能够将接触杆穿过来的力转变为数字信号;所述压力传感器、数据采集模块、显示装置依次电连接。本实用新型能够自动显示故障点,并且能够快速确定故障点,缩短排障时间,提高生产效率。