当前位置:首页 > 专利资讯 > 正文

【专利】一种停缸电磁阀(专利号:201821943836.5)

来源:互联网 时间:2019-12-16 08:53 点击:168
专利号:201821943836.5
专利状态:有权
专利类型:[实用新型]
专利申请人:安徽江淮汽车集团股份有限公司
专利分类号:F16K31/06(20060101)
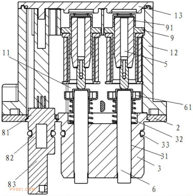
专利摘要:公开(公告)日:2019-11-26摘要:本实用新型公开了一种停缸电磁阀,包括:外壳体、下盖板、销轴套、电磁线圈、磁芯推杆、阀销、复位机构和测距机构;外壳体内部设置有容纳槽,下盖板固定在容纳槽的槽口位置,下盖板上设置有第一阀销穿孔;销轴套固定在下盖板上;阀销分别与第二阀销穿孔与第一阀销穿孔配合;测距机构固定在所述下盖板上,所述测距机构位于缸体内;电磁线圈固定在容纳槽内,磁感推杆在电磁线圈的作用下活动在推动阀销向靠近凸轮轴旋转槽方向伸出和阀销在复位机构的作用下收缩在销轴套内两个状态中。本实用新型通过测距机构以判断对应的移位凸轮状态以控制阀销的伸出状态。避免电磁阀阀销伸出时与凸轮发生撞击的情况。