当前位置:首页 > 专利资讯 > 正文

【专利】一种液化石油气阀门安全检测装置(专利号:201920173630.7)

来源:互联网 时间:2019-12-16 08:47 点击:137
专利号:201920173630.7
专利状态:有权
专利类型:[实用新型]
专利申请人:江苏中安科技服务有限公司
专利分类号:F16K37/00(20060101)
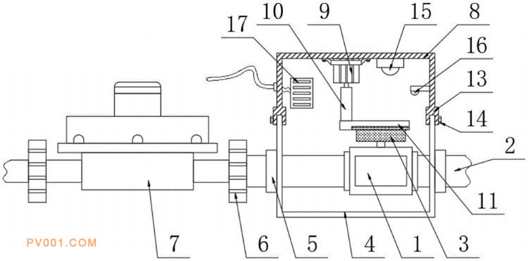
专利摘要:公开(公告)日:2019-11-26摘要:本实用新型公开了一种液化石油气阀门安全检测装置,具体涉及液化石油气阀门技术领域,包括气压检测仪,所述气压检测仪的底部连接有气管,且气压检测仪的顶端设置有压力表外壳,所述气压检测仪的外部安装有下防护壳,所述下防护壳的两端对应气管的外部位置处均设置有限位环,所述气管的一端连接有减压阀转接头,所述减压阀转接头的一侧连接有减压阀,所述下防护壳的顶端连接有上防护壳。本实用新型便于上下两防护壳之间的安装与拆卸,且这种安装方式的防水防尘性能较为良好,也便于使用者通过手持终端远程监控压力表的数值,同时能够对压力表外壳顶部的防护玻璃进行擦拭,防止由于温差导致防护玻璃表面产生水雾影响到使用者的观察。