当前位置:首页 > 专利资讯 > 正文

【专利】一种气体电磁阀(专利号:201920155341.4)

来源:互联网 时间:2019-12-16 08:38 点击:81
专利号:201920155341.4
专利状态:有权
专利类型:[实用新型]
专利申请人:大连亿升科技发展有限公司
专利分类号:F16K3/02(20060101)
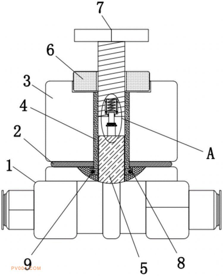
专利摘要:公开(公告)日:2019-11-26摘要:本实用新型属于电磁阀技术领域,尤其为一种气体电磁阀,包括阀体,所述阀体的顶部固定安装有固定板,所述固定板的顶部固定安装有铁芯线圈组件,所述铁芯线圈组件内固定安装有滑阀套,所述滑阀套内滑动安装有滑阀芯,所述滑阀芯的底端延伸至阀体内,所述铁芯线圈组件的顶部固定安装有螺母,所述螺母内螺纹安装有螺栓,所述螺栓的底端延伸至滑阀套内,所述滑阀套的内壁上设有两个凸环,两个凸环之间固定安装有同一个密封环,所述滑阀芯的顶部固定安装有顶柱,所述螺栓上开设有腔室。本实用新型操作简单、使用方便,很好的降低了气体电磁阀工作的时候所产生的噪音,给人们带来了方便。