当前位置:首页 > 专利资讯 > 正文

【专利】一种便于拆卸的机械用阀门管件(专利号:201920494905.7)

来源:互联网 时间:2019-12-16 08:10 点击:167
专利号:201920494905.7
专利状态:有权
专利类型:[实用新型]
专利申请人:青岛常润新材料有限公司
专利分类号:F16L23/024(20060101)
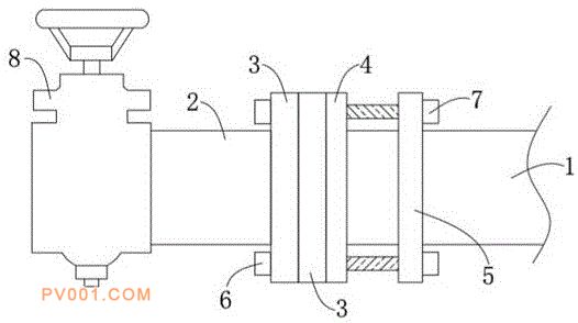
专利摘要:公开(公告)日:2019-11-26摘要:本实用新型公开了一种便于拆卸的机械用阀门管件,包括第一管件,所述第一管件的左侧对称设置有第二管件,所述第一管件与第二管件的相邻端口处均固定连接有管件法兰,所述管件法兰的表面开设有法兰通孔。该便于拆卸的机械用阀门管件,通过在第一管件的外侧依次加装锁紧卡盘与限位卡盘,该锁紧卡盘通过丝杆与锁紧螺母的配合使用,达到紧固两侧管件法兰,实现固定第一管件与第二管件的效果,只需对锁紧螺母进行拆卸,方便实现第一管件与第二管件的分离;限位卡盘与锁紧卡盘通过第二螺栓连接实现相互固定的效果,只需旋转第二螺栓,带动定位块向限位卡盘的一侧移动,实现锁紧卡盘与管件法兰的分离,防止因管件长时间连接而不易拆卸的效果。