当前位置:
首页
>
专利资讯
> 正文
【专利】聚芳醚砜生产用定量旋塞阀(专利号:201910710058.8)
来源:互联网
时间:2019-11-18 08:01
点击:110
专利号:201910710058.8
专利状态:审中-公开
专利类型:[发明]
专利申请人:南京清研高分子新材料有限公司
专利分类号:F16K31/20(2006.01)I
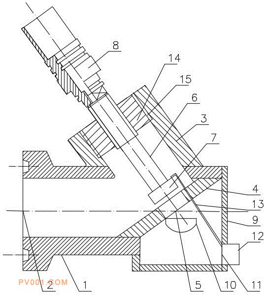
专利摘要:公开(公告)日:2019-11-12摘要:本发明提供一种聚芳醚砜生产用定量旋塞阀。本发明包括阀体,所述阀体的一端设置有流体输入口,所述阀体上部焊接有阀盖,所述阀体的里面设置有与所述阀盖的中心轴线垂直的阀座,所述阀座上设置有流体通道,所述阀盖里面设置有与其中心轴线重合的阀杆,所述阀杆...
上一篇:
【专利】一种过载补油阀(专利号:201822170509.7)
下一篇:
【专利】换流阀阀层及换流阀(专利号:201910760007.6)
专利资讯推荐
更多>>
浙江汇正阀门科技股份有限公司研发的“一种
总投资27.15亿元!内蒙古鄂尔多斯又一重大
2024年03月13日长江镍价格行情参考
2024年03月13日长江锌价格行情参考
2024年03月13日长江铜价格行情参考
2024年03月13日长江铅价格行情参考
2024年03月13日长江铝锭价格行情参考
2024年03月13日长江锡价格行情参考
【专利】一种混凝土地泵管路支撑装置(专利
【专利】混凝土泵车臂架、混凝土泵车臂架组
【专利】新型电动充气泵主体、内置式气泵和
【专利】一种泵驱动轮的端面成型槽刀(专利
【专利】一种便于检修的预制泵站筒体(专利
【专利】车载充气泵(T018D)(专利号:20203
【专利】取水泵船仿古屋顶(专利号:20193058
【专利】一种大流量耐腐蚀旋转泵(专利号:20
【专利】一种车用热泵空调系统(专利号:2019
【专利】一种变频地源热泵(专利号:20192235
【专利】一种自清洗型水泵(专利号:20192208
【专利】一种地源热泵中央空调机组减震安装