当前位置:
首页
>
专利资讯
> 正文
【专利】泵口法兰快速夹紧装置(专利号:201920157242.X)
来源:互联网
时间:2019-11-14 10:43
点击:130
专利号:201920157242.X
专利状态:有权
专利类型:[实用新型]
专利申请人:山东挚刚智能控制机械有限公司
专利分类号:F16L23/024(2006.01)I
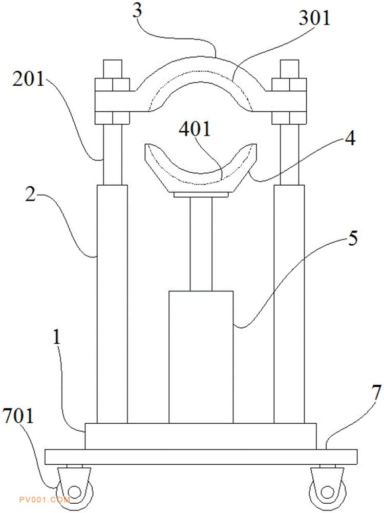
专利摘要:公开(公告)日:2019-11-05摘要:本申请公开一种泵口法兰快速夹紧装置,包括:底座和升降装置,底座上设置有两个立柱,两个立柱之间连接有上抱箍;升降装置设置在两个立柱之间,升降装置的顶端设置有下抱箍,升降装置的下端连接在底座上;其中,上抱箍的内侧设置与上凹槽,下抱箍的内侧设置有...
上一篇:
【专利】一种高密封多级立式离心泵(专利号:201920337645.2)
下一篇:
【专利】背叶片包角大小对离心泵轴向力影响的实验装置(专利号:201822063550.4)
专利资讯推荐
更多>>
浙江汇正阀门科技股份有限公司研发的“一种
总投资27.15亿元!内蒙古鄂尔多斯又一重大
2024年03月13日长江镍价格行情参考
2024年03月13日长江锌价格行情参考
2024年03月13日长江铜价格行情参考
2024年03月13日长江铅价格行情参考
2024年03月13日长江铝锭价格行情参考
2024年03月13日长江锡价格行情参考
【专利】一种混凝土地泵管路支撑装置(专利
【专利】混凝土泵车臂架、混凝土泵车臂架组
【专利】新型电动充气泵主体、内置式气泵和
【专利】一种泵驱动轮的端面成型槽刀(专利
【专利】一种便于检修的预制泵站筒体(专利
【专利】车载充气泵(T018D)(专利号:20203
【专利】取水泵船仿古屋顶(专利号:20193058
【专利】一种大流量耐腐蚀旋转泵(专利号:20
【专利】一种车用热泵空调系统(专利号:2019
【专利】一种变频地源热泵(专利号:20192235
【专利】一种自清洗型水泵(专利号:20192208
【专利】一种地源热泵中央空调机组减震安装